Situació

Vista de l’església enmig de la vegetació i el paisatge feréstec.
J.M. Ubach
L’església de Sant Martí de Nagol és situada sobre un penya-segat, en un sortint rocós de l’entrada de tramuntana de la vall de Sant Julià. L’edifici es troba a 1 101,8 m sobre el nivell del mar i el seu desnivell, amb relació a la Valira és de 114 m, amb un important pendent del 50%.
Situació: x 1°29′45 i — y 42°28′30”.
L’accés més fàcil, cal fer-lo a partir de Nagol, on s’agafa un camí que porta directament a la capella. És un camí suau, amb pocs pendents i que amb una marxa normal hi porta en uns 20 minuts. Un altre accés, molt tortuós a causa del pendent del terreny, pot fer-se a partir de la carretera general II entre el pont d’Aixovall i el poble de Sant Julià. (XLM)
Història
Aquesta església és esmentada per primera vegada el 7 de maig de 1048, quan Miró en donà les possessions a Santa Maria d’Urgell. Aquestes eren situades entre el riu d’Aubinyà, Sant Martí i la muntanya anomenada Bragacolls . (JGA)
Donació d’una terra a Santa Maria de la Seu (7 de maig de 1048)
Document en el qual se cita per primera vegada l’església de Sant Martí de Nagol.
"In Xpisti nomine, ego Miro facio carta ad Sancta Maria de omnia que abeo de terras et vineas, chasas, chasalibus, ortis, arboribus, ereis, paliaris, molinis cum exiis et regresiis et illorum superpositis tam de sedentem quam de mobilem. Est ipsum ec omnium in apendicio de Sancto Iuliano de Lauredia vel in villa de Alumaneres. Abent afrontaciones de I parte in ipso rivo de Albinano, de alia parte in Sancto Martino, de III parte in ipso monte de Vergafolle. Inter istas afrontaciones includunt, sic facio ista carta de omnia que superius resona qui mihi adveni de patre meo vel de fratres suos, sic facio ad Sancta Maria ab integrum ista carta in tale conventum dum ego vivo, teneo et posideo. Post obitum meum romanet ad Sancta Maria, propter remedium animee et si vindere volunt ipsi clericos de Sancta Maria, de ipsa chanonica ad serores meas vindent ad Oria et Iaguinta. Et qui ista carta inquitare volueri in duplo compona cum sua inmelioracione et sia excomunicatus de ipsos sacerdos de Sancta Maria. Est manifestum in antea ista carta donacionis firma permaneat. Facta ista carta nonas madii, ano XVII renante Enrici rege.
Signum Miro qui ista carta rogavit scribere et testes firmare. Siganum Eldemar. Sig+num Gifredo. Sig+num Ermemiro.
Durabiles presbiter, rogitus scripsit et (sig. man.) die, ano quod supra."
Original: ACU Andorra núm. 8.
Còpia: ACU Cartulari I, fol. 168 v°, núm. 496.
Cebrià BARAUT: Els documents, dels anys 1036-1050, de l’Arxiu Capitular de la Seu d’Urgell/hi>, “Urgellia” V, la Seu d’Urgell 1982, núm. 617 pàg. 139.
Cebrià BARAUT: Els orígens de la senyoria episcopal d’Andorra, “Estudis d’història medieval”, vol. V, Societat Catalana d’Estudis Històrics-Institut d’Estudis Catalans, Barcelona 1972, núm. 7, pàg. 19.
Traducció
"En nom de Crist, jo, Miró, faig escriptura de donació a Santa Maria de tot allò que tinc en terres, vinyes, cases, casals, hortes, arbres, eres, pallers i molins, amb eixides i accessos, i amb llurs construccions, tant les fixes com les mòbils. Tot això és situat en una dependència de Sant Julià de Lòria, en una finca de Llumeneres. Limita d’una part amb el riu d’Aubinyà, d’una altra part amb Sant Martí i de la tercera part amb la muntanya de Vergafolle. Dins d’allò que aquests termes inclouen, faig així aquesta escriptura de donació de tot el que més amunt s’enuncia, que he heretat del meu pare o dels seus germans, i així faig a Santa Maria íntegrament aquesta escriptura, amb la condició que mentre jo visqui ho retinc i posseeixo. Després de la meva mort romandrà per a Santa Maria, per la salvació de la meva ànima; i si ho volien vendre els clergues de la canonical de Santa Maria, ho vendran a les meves germanes Oria i Jacinta. I si algú volgués impugnar aquest document, que ho repari amb el doble i la millora i que sigui excomunicat pels sacerdots de Santa Maria. És manifest i que d’ara endavant aquest document de donació perduri fermament. Aquest document ha estat fet a les nones de maig de l’any dissetè del regnat del rei Enric.
Signatura de Miró, qui requerí d’escriure aquest document i de firmar els testimonis. Signatura d’Eldemar. Signatura de Guifré. Signatura d’Ermemir. Durable, prevere, l’escriví a requeriment i (signat de sa mà) el dia i any de més amunt."
(Trad.: Lluís Codina i Lanaspa)
Església

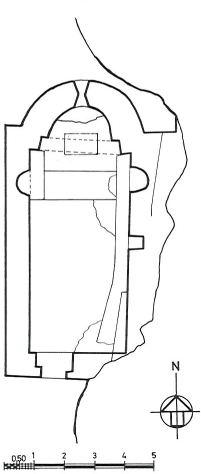
Planta de l’església, en part encastada a la penya, la qual condicionà la seva peculiar orientació. És un edifici senzill, amb una nau, capçada a tramuntana per un absis semicircular.
F. Rodríguez
L’església, molt senzilla quant a construcció, té una situació molt característica. Edificada de manera que queda pràcticament encaixada dins la penya, que sobreploma per la banda de tramuntana, els constructors degueren adaptar-se a la configuració del terreny per a bastir-la. La primera adaptació fou la situació de l’absis a la banda de ponent, per tal com l’únic accés possible és pel costat de llevant, fet que impossibilitava la construcció de l’absis en aquest costat.
L’absis és semicircular, sense decoració, i amb una sola finestra de doble esqueixada al seu centre, finestra que fou reconstruïda fa pocs anys en fer la restauració. Hom reconstruí també una gran part de les parets de migjorn i de ponent. Pel que fa a aquestes, tal com ja hem apuntat, a la de llevant hi ha la porta d’accés, de la qual ignorem l’alçada original i també si acabava amb arc o amb llinda; ha estat reconstruïda amb un arc de mig punt. A la mateixa paret ha estat oberta una finestra de doble esqueixada amb arc i, sobre el llosat, un campanar d’espadanya d’un sol ull. D’aquests elements, però, no hi havia constància, ni documental ni arqueològica.

Una perspectiva de la capella, abans d’ésser restaurada. Hom pot veure com l’església fou construïda encastada a la penya. És de planta rectangular, amb un absis semicircular. Al seu interior hi ha dues fornícules a banda i banda de l’absis.
Arxiu del Patrimoni Artístic Nacional d’Andorra
En fer la restauració, fou descoberta la part inferior d’una finestra de doble esqueixada a la paret de migjorn, finestra que fou reconstruïda. Així mateix en fou reconstruïda una altra que segurament hi havia en aquesta mateixa paret. Tota la paret de tramuntana, per la seva situació adossada a la penya i protegida per aquesta, es conserva perfectament. També es conservava l’arrencada del llosat de l’absis, la qual cosa permeté de conèixer-ne de manera segura l’alçada, així com el tipus de coberta, de quart d’esfera, amb llosat de llicorella.
Interiorment el terra ha estat fet amb material de farciment. A la banda de tramuntana la penya és vista. Un repeu, més ample que la paret d’aquest costat, fa de suport a aquesta; a l’exterior i a la paret de migjorn també hi ha aquest repeu.
L’accés a l’absis és possible a través d’un presbiteri estret que en planta es reflecteix mitjançant dos queixals, els quals no són remarcats exteriorment. El presbiteri és cobert amb una volta de canó. A nivell del terra aquests diferents espais han estat definits per uns graons de pedra.
A l’absis aparegué la base de l’altar, així com la pedra que el rematava, la qual cosa en permeté la reconstrucció.
A banda i banda de l’absis, a les parets de la nau i a una certa alçada hi ha unes petites fornícules de planta semicircular, acabades amb volta en quart d’esfera, la funció de les quals hom ignora, tot i que fan pensar en l’embrió del que devien ésser unes absidioles. La coberta fou construïda seguint el model de la volta de la veïna església de Sant Serni, molt semblant en conjunt a la de Sant Martí. Hom feu unes encavallades de fusta, sobre les quals foren col·locades les llates, i un llosat de llicorella. Tant les restes de pedra trobades a l’interior com el gruix de les parets permeten d’afirmar que el tipus de coberta original fou aquest i no pas una volta.
L’aparell és totalment irregular. Per a construir la capella hom utilitzà les pedres que foren arrencades de la penya. Tanmateix les pedres foren més o menys triades per formar en alguns llocs unes filades. L’argamassa és un morter de calç.
Per les característiques que hem descrit i comparant-lo amb les altres construccions de la zona, ens inclinem a pensar que aquesta església correspon als tipus més arcaics dins el romànic andorrà, segurament dins el segle XI, paral·lelament a la seva veïna, dedicada a sant Serni. (FRR)
Excavacions
L’any 1981, els Serveis del Patrimoni Artístic d’Andorra iniciaren una campanya de restauració en aquest monument. Prèviament a la reconstrucció, hom realitzà excavacions per tal de conèixer una mica millor l’església i el seu entorn.
La primera excavació fou la de la nau i l’absis.
L’edifici era enderrocat en una gran part. L’absis es conservà fins a nivell de la finestra; la paret d’aquest era la més ben conservada, puix que es trobava gairebé sencera; el mur de migjorn era molt danyat i tenia greus problemes de conservació, i de la paret de ponent només es conservaven les cantonades. Amb tots aquests enderrocs, a l’interior de la nau hi havia acumulacions de runa, que en alguns llocs arribava als 2 m. La neteja de la nau i de l’absis permeté de veure clarament el soler romànic i les escales del presbiteri, on s’observaren modificacions posteriors. Aquestes, segons P. Canturri, devien tenir lloc els segles XVI o XVII. Hom localitzà també el basament de l’altar romànic amb una cavitat per a la lipsanoteca. També aparegué l’ara de l’altar, que era desplaçada, així com una llosa calcària, de forma rectangular, amb inscripcions en una de les cares. L’únic nom llegible és AUDERIC.
La segona fase de les excavacions de Sant Martí de Nagol tingué lloc a l’entrada de la capella. En aquesta campanya hom pogué veure que l’accés inicial no era el que hi ha actualment, sinó que segurament s’hi accedia amb algun tipus d’escala de fusta d’uns 2 m. En l’acumulació de sediment que hi havia en aquest lloc, fins arribar al nivell de la porta, aparegué una gran quantitat de ceràmica domèstica i algunes restes òssies humanes.
També a l’exterior, vora el basament sobre el qual s’aixeca l’església, i pel costat de migjorn fou oberta una cata en el poc terreny, més o menys pla, que hi ha en aquest costat de l’edifici. Hi aparegueren dos enterraments, força malmesos a causa de despreniment d’una part del mur de migjorn. Són tombes antropomorfes, típicament medievals.
En una altra terrassa situada més a llevant hi ha d’altres tombes, també antropomorfes, que no han estat mai excavades. Són en molt mal estat, puix que han estat saquejades en nombroses ocasions.
Pel que fa als altres materials arqueològics trobats durant aquesta campanya d’excavacions, cal destacar una col·lecció de 18 monedes, estudiades per P. Canturri(*), d’entre les quals cal destacar aquestes: un òbol de bilió de Jaume I, un diner de tem també de Jaume I, un diner melgorès utilitzat durant els segles XI, XII i XIII, un altre diner possiblement de Lluís IX de França i un mig doble tornès de l’època de Felip IV de França.
Per llur quantitat, cal destacar també els gairebé 4 000 fragments de ceràmica, la majoria localitzats davant la porta d’entrada. Hom ha pogut reconstruir gràficament algunes de les formes i els tipus de decoració. La majoria són formes globuloses (olles i gerres), amb la vora recta o lleugerament exvasada i sense decoració. Les altres són formes més obertes (escudelles i cassoles), amb la vora plana, de vegades decorades amb acanalats. Les decoracions més corrents, són els acanalats i els cordons incipients poc vistosos. (XLM)
Ceràmica
Les restes de ceràmica medieval presentaven unes calcificacions superficials que foren eliminades amb una dissolució lleugerament acidulada, que fou rentada seguidament amb aigua. Després de la seva classificació per gruixos, colors i textures, foren enganxades amb cola nitrocel·lulòsica, tot reomplint els buits per tal de donar la forma original amb un ciment cola colorat amb tons neutres, similars, però no iguals, als originals per a poder diferenciar les parts noves de les velles.
Les restes òssies procedents de l’excavació arqueològica, força ben conservades, foren netejades; algunes foren consolidades amb reïnes sintètiques (P.V.A. i Polaroid B-52) i els ossos trencats foren enganxats després amb cola nitrocel·lulòsica.
Després de l’excavació arqueològica de l’interior de l’església, durant la qual foren recuperats diversos materials i descobert el soler original, així com la base de la fornícula lateral que mancava, hom procedí a la restauració arquitectònica. Els materials utilitzats foren els mateixos de les restes originals: pedra, calç i sorra. Fou reconstruïda la paret de la façana de migjorn, partint de l’alçada original de la façana de tramuntana; fou refeta la façana de la porta i l’absis, del qual hi havia el començament de la volta. El llosat fou refet tot seguint els altres llosats romànics i calculant el pendent proporcional a la llargada i a l’amplada. (EGA)
Necròpoli

Tomba antropomòrfica descoberta durant les excavacions.
Arxiu del Patrimoni Artístic Nacional d’Andorra
Les restes òssies humanes del cementiri de Sant Martí de Nagol procedeixen de dues tombes situades vora la paret de migjorn de l’església, superposades per la manca d’espai habilitat per als enterraments. A l’altra banda, al pla, fou descobert un fossar amb restes difícilment individualitzables, però en bon estat de conservació.
La tomba 1 contenia els ossets d’un infant, un nadó, molt malmès, amb una manifesta hiperostosi osteoporòtica, localitzada al crani. L’aspecte clivellat de les parets cranials s’associa a anèmies hereditàries, com la talasèmia, que solen tenir caràcter letal. La resta de l’esquelet no presenta cap particularitat.
La tomba 2, sota la primera, correspon a un adult, de sexe masculí i ja gran, d’alçada mitjana i robustesa accentuada a les insercions musculars. És dolicocèfal, té el crani d’alçada mitjana, la cara curta, l’alçada intermèdia i una capacitat cranial mitjana. La morfologia pot ésser considerada com una variació mediterrània.
A l’ossera foren trobades restes esquelètiques d’adults i d’infants. Hi destaca un crani molt ben conervat d’una persona, de sexe masculí, molt robust, d’enormes dimensions, dolicocèfal i de gran capacitat cranial, un tipus de mediterrànid robust. També foren trobades mandíbules, una d’elles possiblement femenina, ossos llargs de les extremitats i també algun metacarpià i metatarsià, vèrtebres i fragments de la pelvis. La robustesa és molt forta en els húmers, cúbits i fèmurs que tenen unes grans insercions musculars. L’alçada assolida per aquests individus se situa entre 165 i 170 cm.
Alguns ossos han pogut ésser associats entre si, com és el cas d’un radi, d’edat i sexe indeterminables, que presenta un enorme tumor benigne —un osteocondroma— al radi i al cúbit, menys acusadament. El radi homòleg no té particularitats. Els húmers, metacarpians i metatarsians d’un altre individu presenten un intens procés d’artrosi, en el qual s’arribà a la deformació de les peces. L’artrosi també ha estat localitzada, amb efectes més discrets, als calcanis, cuneiformes, i també a les vèrtebres. La sacralització incompleta i asimètrica de la L5 en un sacre havia de provocar una escoliosi al seu portador. En la dentició han aparegut les inevitables pèrdues en vida de peces, també càries, fístules i grans dipòsits de carrall. El desgast dentari afecta principalment les peces anteriors en graus de diversa intensitat.
Les restes infantils de l’ossera corresponen a dos nens. L’un, molt deteriorat, era probablement menor d’un any. L’altre té un crani molt ben conservat i una gran part de l’esquelet, també en bones condicions. Al crani cal destacar la presència d’un os supernumerari coronal, molt poc freqüent, i la criba orbitalis, que és una alteració del sostre de les òrbites d’etiologia mal coneguda i que tradicionalment s’associa a deficiències alimentàries, concretament de ferro, i a estats de mancança per causes diverses. L’edat, segons el desenvolupament dentari correspon a 1,5 - 2,5 anys.
Els nens tenen unes edats situades des de l’interval del naixement fins a 3 anys, edat molt sensible per als infants, en què es procedeix al deslletament que pot arrossegar deficiències o infeccions en els aliments substitutius a la llet materna, situació a la qual aquí s’afegeix un cert malestar en la presència d’anomalies hereditàries i del que, en principi, es consideren estats de mancança.
Amb relació a la veïna necròpolis de Sant Vicenç d’Enclar, hi ha un fort contrast quant a l’absència de traumatismes a Nagol. Les manifestacions patològiques tenen un altre caire, tot i que el nombre de restes d’aquest cementiri és molt petit, amb uns interessants exemples d’un osteocondroma, un cas d’hiperostosi osteoporòtica, una criba orbitalis i manifestacions artròsiques d’una certa importancia.
En resum, a Sant Martí de Nagol hi ha les restes d’un nadó, procedent d’una tomba, i de dos nens més de l’ossera, l’un menor d’un any i l’altre d’uns dos anys. Les restes dels adults són d’un home madur, procedent de l’altra tomba, i un mínim de tres adults més, un dels quals era de sexe masculí d’edat madura, un altre de sexe femení i edat indeterminable i el tercer alofís. Possiblement, la necròpolis devia tenir més extensió, però mancats de les proves, cal convenir que es tracta d’un cementiri d’una comunitat molt petita, els individus de la qual es caracteritzaven per una gran robustesa física, pròpia de les formes mediterrànies robustes, i que, des del punt de vista de la mortalitat infantil no es devia pas diferenciar de l’elevada proporció d’altres localitats. (EVB)