Situació

Edifici ruïnós que té aterrats els murs del sector nord-est.
ECSA - M.À. Font
L’església de Sant Pere és als afores i davant del dispers nucli de Sobrecastell, a l’altra banda de la Valira de Cornudella, obaga de la serra de Berganui. L’ermita de Sant Pere és al peu d’un turó i vora d’un vell camí que menava d’Areny a la vall de la Valira.
Mapa: 32-11 (251). Situació: 31TCG117822.
Passat el km 103 de la N-230 en direcció a la Vall d’Aran, s’enfila a l’esquerra una carretera que s’endinsa per la Valira de Cornudella. Molt aviat s’arriba a Sobrecastell. Des de casa Monge s’agafa un camí que surt a l’altra banda del barranc i que voreja la falda de la muntanya. El passeig dura un quart d’hora. (JBP-MAF-XFG)
Història
Tradicionalment, el poble de Sobrecastell era el segon nucli en importància del terme d’Areny. Tenia 9 focs el 1495. Tanmateix, les notícies d’època romànica no fan cap referència específica a l’indret ni tampoc a l’església de Sant Pere. Hom suposa que aquesta capella correspon a l’església de Santa Maria de Perafita, església dependent des d’antic de la parròquia de Sant Martí d’Areny.
La capella ha estat un centre de romeries durant el mes de maig, fins al seu esfondrament al final dels anys vuitanta. (JBP)
Església

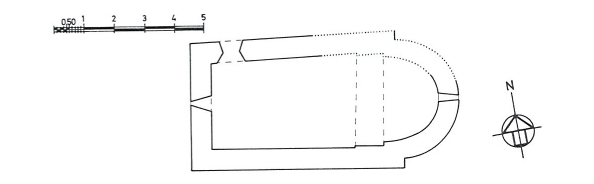
Planta de l’església, amb indicació de la part ensulsiada.
X. Fresneda i M.À. Font
És un edifici d’una sola nau capçada a llevant per un absis semicircular. Presenta un estat de semiruïna, amb un sostre d’embigat de fusta a punt d’ensorrar-se, sobre el qual un teulat de teula àrab n’amaga un de més antic de lloses, i els murs del sector nord-est ensulsiats. Encara, però, queden drets la resta dels murs perimetrals i l’absis cobert amb una volta de quart d’esfera que se sosté gràcies a un envà afegit a la zona presbiteral. En aquesta paret s’hi adossà l’altar, que ha estat sepultat en desplomar-se l’arc presbiteral de mig punt que unia l’absis i la nau.
De factura popular, els murs rústecs d’aquesta petita construcció han estat bastits amb la pedra calcària que aflora en estrats per la rodalia i s’ha reservat la pedra tosca com a material per a la construcció de la volta de la capçalera. Si bé el tipus de morter elegit en el paredat dels murs de la nau és de calç i sorra, el que lliga els carreuons de l’absis és senzillament de fang i respon a un altre moment de la construcció de l’església, que en tot cas correspon, en el seu conjunt, a una obra rústega del segle XII.
Defugint el que és costum, la porta d’entrada, d’arc parabòlic amb dovelles sobre brancals monolítics, és a tramuntana. S’obre en esqueixada cap a l’interior, on encara es conserva, adossada al mur nord, una pica beneitera de tradició romànica.
Al mur de ponent s’obre una finestra, amb llinda de fusta a l’exterior, que fou ampliada per l’interior amb una esqueixada. La finestra de l’absis, també d’una sola esqueixada, quedà inutilitzada per l’envà abans esmentat. (MAF-XFG)