Situació

Vista aèria del turó de Fontova, on s’aixeca el castell i l’església de Santa Cecília.
ECSA - J. Todó
El castell de Fontova és enlairat a 1 010 m d’altitud, en un tossal afaiçonat a banda i banda per les capçaleres dels barrancs dels Pinars i de la Bodegueta, col·lectors de l’Éssera per l’esquerra.
Mapa: 31-11(250). Situació: 31TBG891838.
S’arriba a la Pobla de Fontova per la carretera local que surt de la carretera C-139 de la vall de Benasc, a l’altura de les Ventas de Santa Lucía, a mà dreta. Un cop a la Pobla de Fontova cal entrar als carrers del poble, tot recte, i a l’altre extrem s’agafa un camí asfaltat que va cap al castell. A partir d’una granja, on hi ha diversos pollancres, comença un camí per a vehicles tot terreny que ens deixarà al peu del turó del castell. (JBP-JBM)
Història
El lloc de Fontova tingué probablement un origen romà. A l’inici del segle XI hom parlava de la civitas de Fontova perquè, entre altres coses, als ulls dels homes d’aleshores, era ben palesa aquesta continuïtat històrica entre el municipium romà i el castrum carolingi.
El castell de Fontova, igual que la civitas de Roda, devia ser organitzat vers mitjan segle X, ambdós amb l’objectiu de defensar la frontera comtal i de consolidar la repoblació del territori. Fou en aquesta època quan els comtes ribagorçans i alguns homes del terme feren bastir l’església de Santa Cecília, in castro Fontove, que consagrà el bisbe Odesind l’any 961. Sens dubte, l’emplaçament fronterer de Fontova afavorí l’arribada de nous pobladors, atrets per les llibertats, les franqueses i les possibilitats que proporcionava instal·lar-se en aquesta civitas.
Tanmateix, si al principi del segon mil·lenni els musulmans arrasaren la seu de Roda, Erdao, Nocelles o Rallui, tots ells més al nord, és lògic suposar que també perí el castell de Fontova. En aquest sentit, s’ha atribuït amb encert la reconstrucció del castell de Fontova al comte Guillem Isarn, vingut de terres castellanes.
El castell de Fontova esdevingué una de les fortaleses principals del comtat de Ribagorça; les referències de milites i, fins i tot d’un senyor anomenat Papix, confirmen el seu protagonisme militar. Entre el 1068 i el 1089 la senyoria de la fortalesa de Fontova figura en poder de l’infant Sanç Ramírez, titulat també comte de Ribagorça. Després es perden les notícies, però molt probablement la conservà la seva vídua Beatriu fins al 1110, moment en què el feu passà als comtes del Pallars Jussà. Així, els escatocols reials consignen el comte Bernat Ramon com a senyor de Fontova (1110-18), amb l’incís o parèntesi de Barbatorta de Tena (1113), que potser n’era castlà.
Després, el castell de Fontova passà al nebot de Bernat Ramon, el comte Arnau Mir I de Pallars Jussà, qui el cedí per esponsalici a la seva muller Òria d’Entença, fet que explica la introducció d’aquest llinatge en el domini casteller. Llur fill, Ramon VI de Pallars Jussà, probablement gaudí de la senyoria que formaria part de l’honor que tenia pel rei d’Aragó (1178-82). Posteriorment, Fontova va pertànyer al domini dels monarques catalano-aragonesos. El rei Jaume I infeudà l’any 1228 el castell de Fontova a Berenguer III d’Erill, en penyora d’un deute que pujava a 300 morabatins, i va ser succeït a la senyoria pels cosins Sibil·la d’Erill i Ramon de Montcada, branca de Fraga.
L’any 1085 hom troba esment de Berenguer Guillem de Fontova, que en seria castlà, ja que concedí la dècima d’un home franc. Un tal Ermengol de Fontova actuà d’àrbitre entre els canonges de Roda i Bernat Roger amb els seus germans, que disputaven els molins de la Corba (1131), potser al terme de Fontova. Temps després compareix un cavaller anomenat Pere Arnau de Fontova com a testimoni d’un conveni relacionat amb els Benavent (1150).
A partir del segle XIV Fontova formà part integrant del tercer comtat de Ribagorça; en concret, el rei Jaume II cedí el castell en feu honorat a l’infant Pere. A mitjan segle XVI el castell encara consta en actiu; els comtes tenien infeudada la castlania als Aguilaniu. A la fi de l’antic règim les famílies Aguilaniu i Bagüés portaven el títol de castlans de Fontova. (JBP)
Castell

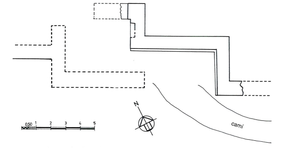
Planta, a escala 1:1 000, del conjunt de la fortalesa, el recinte de la qual englobava l’església de Santa Cecília.
J. Bolòs
El castell de Fontova era format per una torre de planta circular, recentment restaurada, i per un ampli recinte, del qual s’han conservat algunes restes de muralles, sobretot en la zona on hi havia el portal d’accés, i també una bestorre semicircular que ara fa de campanar de l’església de Santa Cecília —al nivell inferior de la qual hi ha un dels seus dos absis—.
La torre mestra, de planta circular i amb una alçada de 19 m, restava dividida en quatre cambres o compartiments interiors. Per damunt d’una petita base massissa començava un nivell inferior, cec, que té una alçada de 6,2 m.
Un regruiximent i uns dentells permetien de suportar un trespol de fusta, que arran de la restauració ha estat refet.

Plantes i secció de la torre mestra.
J. Bolòs
Al pis principal s’obria la porta d’accés. Aquesta cambra principal té una alçada de prop de 4 m i fou coronada per una bonica volta d’aresta.
Per dins del mur hom podia accedir al tercer nivell, on hi ha una finestreta. Finalment, al nivell superior hi havia 7 finestres o obertures repartides per tota la paret. Es pot accedir a l’interior de la torre per una escala de fusta col·locada a la paret exterior, després de la restauració, que comunica amb la porta principal d’entrada, oberta a mig aire.
El diàmetre interior varia molt d’un pis a l’altre, des dels 3,70 m del nivell inferior fins als 6,15 del nivell superior; al nivell principal fa 4,55 m. El gruix de la paret al pis principal és de 230 cm.
Segons els càlculs fets, la superfície, arran de terra, era de 16,3 m2 i la superfície total, sumats els cinc pisos i tenint present els diversos engruiximents del mur, és de 111,4 m2 (Galtier, 1987, núm. 18, pàg. 191).
Per aquesta paret passa una escala de 24 graons que comunica el pis principal amb el segon pis. Aquest pas buidat dins la paret té una amplada de 75 cm. Per tal d’il·luminar-lo, s’hi obren dos espiells de ventilació i una finestreta al vestíbul petit que hi ha al capdamunt de l’escala.
La porta principal, oberta cap al sud-est, a 7,5 m del sòl exterior, és acabada amb un arc de mig punt format per dovelles, doblat per un seguit de llosetes, com en d’altres construccions romàniques. Té una amplada de 84 cm i una alçada de 175 cm. A banda i banda, encara hi veiem les pollegueres destinades a aguantar els dos batents de la porta. Entre aquesta obertura i la que hi ha a la cara interior del mur, també acabada amb un arc de mig punt, hi ha una petita volta de canó, amb una amplada d’1 m, que cobreix un vestíbul.
Al costat est d’aquest vestíbul d’entrada, surt el pas de l’escala que hi ha encastada dins la paret i que té una alçada d’uns 2 m. La coberta d’aquesta escala és una volta de canó, que ha hagut d’adoptar la forma inclinada. Els graons d’aquesta escala estan disposats d’una manera lleugerament helicoidal per tal de facilitar l’ascensió i la baixada. Al capdamunt, un arc de mig punt deixa passar a un altre menut vestíbul. Com hem dit, en aquest vestíbul s’obre una espitllera, d’esqueixada simple i acabada amb una llinda plana.

Torre mestra del castell, que té adossada una escala de fusta —fruit de la recent restauració— per tal de poder accedir al seu interior.
ECSA - J. Bolòs
Un dels aspectes més originals d’aquesta torre de Fontova és la forma com fou resolta la manera de cobrir el pis principal. Hi ha una volta d’arestes. Aquesta volta és ben quadrada i no arrenca de cap pilar. Hom pot relacionar aquesta volta d’arestes amb les que s’estaven fent a l’església del proper monestir d’Ovarra (Puig i Cadafalch, Falguera, Goday, 1909-18, vol. II, pàgs. 229-238; Whitehill, 1973, pàgs. 44-45). De fet, però, cal tenir present que la volta d’arestes és més adaptada a espais quadrats o rectangulars que no pas a un espai circular, com el que trobem en aquesta torre. Així, com assenyala Galtier (1987, núm. 18, pàg. 192), en aquest cas, sembla que és més aviat un element de prestigi, fruit d’aprofitar els coneixements d’uns mestres d’obra, potser vinguts de la Llombardia, que abans podien haver treballat en la construcció d’edificis eclesiàstics.
De fet, cal cridar l’atenció sobre el fet que la majoria de les torres circulars d’aquest sector més occidental de la marca o frontera dels comtats catalans no tenen un pis fet d’obra, sinó que sols hi trobem uns trespols de fusta. Per a trobar cúpules d’obra cal anar a Alsamora, Fontdepou, Cas o Alòs (Fité, 1993, pàg. 74). Per això, si bé la volta d’aresta és una manera diferent de fer una coberta d’obra, en part aquest tipus de cobriment dels espais interiors enllaça amb el que trobem en d’altres contrades més orientals.
A part de l’obertura que hi ha al capdamunt de l’escala, al segon pis hi ha una altra espitllera al davant, orientada cap al sud. La part superior d’aquesta finestra d’esqueixada simple és formada, a l’exterior, per quatre lloses que fan de llinda graonada, semblantment al que trobem, per exemple, a la torre del castell de Lluçars o a la del castell de Sant Oïsme.
Un regruiximent de 22 cm feia de suport del trespol de fusta de la tercera planta. En aquesta planta s’obrien set finestres, lleugerament esqueixades per dins i cobertes per un arc i una volta de mig punt. Hi devia haver uns cadafals al defora. Les obertures tenen una alçada de 180 cm i una amplada d’uns 80 cm a l’interior i d’uns 60 cm a l’exterior. Fins i tot s’ha volgut trobar un significat màgic a aquest número set (Esteban, Galtier, García, 1982, pàg. 53).
Al damunt d’aquest tercer pis hi havia un terrabastall o unes golfes. A aquest nivell superior corresponen els merlets que veiem al cim. Aquestes obertures, d’acord amb la interpretació que en fan Esteban, Galtier i García (1982, pàg. 259), eren acabades segurament amb llindes de fusta i probablement donaven a un cadafal penjat a fora.
L’aparell constructiu és el característic d’aquestes torres romàniques del segle XI. Els carreus, sobretot allargats (15X 35 cm), són col·locats en filades i són units amb morter de calç de bona qualitat i de gran duresa. Tot i que hi ha una gran regularitat, de tant en tant hi pot haver alguna filada més fina. A la cara exterior del mur, sobretot a partir del nivell de la porta, veiem encara els forats destinats a suportar les bastides del moment de la construcció, tal com podem veure clarament, per exemple, a la propera torre de Viacamp.

Restitució de la planta de l’entrada del recinte del castell, d’acord amb els vestigis que han romàs.
J. Bolòs
A uns 16 m de la torre, en direcció sud-est, encara es conserven uns murs que han de correspondre al portal d’accés al recinte. El mur conservat, amb una amplada d’uns 110 cm, forma un doble angle. A la cara exterior d’aquesta paret, que dona a l’entrada, veiem un arc cec —hi devia haver una mena de fornícula— i també un regruiximent del mur d’uns 15 cm, a uns 5 m d’alçada. Això fa pensar que hi havia d’haver un sostre. Per damunt d’aquest relleix del mur encara hi ha 3 o 4 m més; al cim de tot potser hi havia encara una altra coberta. A l’extrem oest d’aquest fragment de mur també podem veure, a una certa alçada, el muntant d’una porta. Les formes dels carreus d’aquest mur són molt semblants a les que trobem en d’altres murs de la torre (fan uns 10 o 15 cm d’alt x uns 35 cm de llarg). Les filades són força regulars. Hi ha alguns carreus col·locats de través. Del mur que hi havia d’haver al davant d’aquest, només se n’han conservat els fonaments. Pel que fa a aquesta entrada cal cridar l’atenció pel fet que sigui en forma de recolzada, que demostra un alt nivell de coneixements defensius; de fet, aquest alt nivell també es troba reflectit en altres elements de la torre, com ja hem assenyalat.
Al llarg d’uns 60 m, a la banda sud de l’església, hi ha restes d’un mur o muralla. A part d’aquest tram, cal pensar que en un moment original hi devia haver una muralla, poc o molt alta, al llarg de tot el perímetre de l’altiplà, tal com trobem en altres fortificacions semblants (com ara Viacamp), que tingueren, en primer lloc, la finalitat de lloc de refugi de la població i el bestiar i no eren només un castell feudal, funció que, amb tot, degué acabar essent fonamental. És prou sabut que la funció de castell refugi era important al món musulmà i també al món cristià, en alguns moments de l’alta edat mitjana. El fet que, com a Viacamp o com a Lluçars, la torre no resti adossada al recinte del castell (tal com trobem a Perarrua o a Panillo, per exemple), segurament no és pas cap casualitat, és una mostra més de la importància que tenia, potser ja abans de fer-s’hi la torre, aquest petit altiplà fortificat.
El planell on hi ha la torre és molt ampli. D’una banda, cap a ponent, hi ha la necròpoli i l’església, l’absis de ponent de la qual és sobreaixecat a manera de bestorre; el planell arriba fins a uns 45 m de la torre. Cap a llevant s’estén amb una longitud de 70 m. L’amplada d’aquest altiplà és d’uns 30 m.
A uns 30 m de la torre, hi ha una bassa, feta a base de cavar la roca i ampliada amb parets de carreus. Fa 2,3 m d’ample per 4 m de llarg. És conserva en una profunditat de 160 cm.
Al vessant d’aquest turó, amb un estudi acurat s’hi podrien trobar nombroses restes de construccions. Cal assenyalar l’existència d’una roca amb dos forats rodons, que podria pertànyer a una premsa.
Amb relació a aquest castell cal assenyalar, d’una banda, el fet que la torre sigui de planta circular, cosa que permet de relacionar-la amb totes les altres torres que tenen aquesta característica que trobem a la resta de la Ribagorça o al Pallars, fetes al segle XI. D’altra banda, s’ha de destacar algun aspecte molt innovador d’aquesta construcció, com pot ser la coberta de la planta principal en volta d’aresta o l’escala que passa per dins del mur. També convé remarcar les obertures amb cadafal al davant, situades al capdamunt, que podem relacionar amb les que trobem en altres torres d’aquestes comarques (Viacamp, Lluçars, Alsamora, Castelló Sobirà de Sant Miquel de la Vall). Finalment convé de cridar l’atenció sobre l’existència d’un recinte ampli, que fa valorar el paper de fortificació refugi (oppidum) que tenia aquest lloc. El planell de Fontova és comparable als que veiem a Viacamp, Monesma o Benavarri o, malgrat les diferents evolucions, pot ésser equivalent al que hi havia a Mur o a Llimiana, a la propera comarca del Pallars Jussà. També, per acabar, podem assenyalar les característiques complexes del portal d’accés i l’existència d’una bestorre semicircular (com a Lluçars o a Falç, per exemple), el nivell inferior de la qual es correspon amb l’absis primitiu de l’església de Santa Cecília.
La data en què fou feta aquesta construcció ha estat assegurada amb força precisió. A Fontova surt documetat un castrum l’any 961, un palazo l’any 1009 i unes parietes altas el 1015, les quals s’ha considerat que podrien correspondre a la torre del castell (Galtier, 1987, núm. 18, pàg. 198). Això ha permès de suposar que era una de les torres circulars més antigues d’aquest comtat. D’altra banda, s’ha afirmat que el mur perimetral era més “local”, si bé coetani a la torre. Això no obstant, no creiem que hom pugui assegurar que les “parets altes” del document corresponguin a la torre. Més aviat ens hem d’apropar a la datació d’aquesta torre comparant-la amb les dates proposades per a la construcció de l’església del monestir d’Ovarra. Aquest edifici ha estat sovint datat a mitjan segle XI i, fins i tot, al darrer terç d’aquest segle (Yarza, 1982, pàg. 101). Això ens faria datar aquesta torre de Fontova cap a la meitat del segle, per tant en una data propera al moment en què es feren les torres de Lluçars o de Viacamp i segurament, per exemple, en un moment posterior al que es construí Montanyana o Perarrua. (JBM)
Bibliografia
- Pasqual, s.d., BC., ms. 729, vol. VIII, pàgs. 263-268 i 312
- Villanueva, 1851, vol. XV, ap. LXXII, pàgs. 367-368
- Puig i Cadafalch, Falguera, Goday, 1909-18, vol. II, pàgs. 229-238
- Yela, 1932, pàgs. 76-78, 125 i 140
- Canellas, 1950, núm. 3, doc. 1, pàgs. 393-394
- Abadal, 1955, vol. III (II), doc. 179, pàgs. 378-379
- Balaguer, 1955
- Valls, 1961, vol. IV, pàgs. 147-154
- Martín Duque, 1965, docs. 2,12, 22, 31, 158,159, 161, 164, 165, 167, 168, 171, 173, 175, 177-179 i 181-184
- Whitehill, 1973, pàgs. 44-45
- Huici, 1976-78, vol. 1, doc. 98
- Guitart, 1979, vol. 1, pàgs. 87-88
- Boix, 1982, docs. 366, 490 i 505
- Esteban, Galtier, García, 1982, pàgs. 50,53 i 258-260
- Yarza, 1982
- Puig, 1984, doc. 46, pàg. 95, doc. 47, pàgs. 95-96 i doc. 69, pàg. 111
- Galtier, 1987, núm. 18, pàgs. 173-198
- Iglesias, 1985-88, vol. I/2, pàgs. 67-68
- Fité, 1993, pàgs. 44-45